Web Analytics

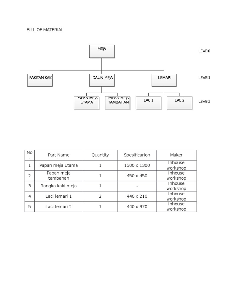
Contoh Bill Of Material Meja

Contoh Bill Of Material Meja

Contoh Bill Of Material Meja

Upsr Bm Bahagia A Contoh Jawapan Bina Ayat Education Malay Language Language

Upsr Bm Bahagia A Contoh Jawapan Bina Ayat Education Malay Language Language

Bill Of Material Bom Untuk Diketahui Oleh Para Pelaku Proses By Ayik Rachman Medium

Bill Of Material Bom Untuk Diketahui Oleh Para Pelaku Proses By Ayik Rachman Medium

Bill Of Material 1 Docx

Bill Of Material 1 Docx

Contoh Faktur Penjualan Software Zahir Accounting Akuntansi Surat Sekolah

Contoh Faktur Penjualan Software Zahir Accounting Akuntansi Surat Sekolah

Blank Service Invoice Catering Invoice Template Catering Invoice Template Free To Do Catering Business Cards Starting A Catering Business Catering Business

Blank Service Invoice Catering Invoice Template Catering Invoice Template Free To Do Catering Business Cards Starting A Catering Business Catering Business

Blank Service Invoice Catering Invoice Template Catering Invoice Template Free To Do Catering Business Cards Starting A Catering Business Catering Business

Untuk mempermudah dalam memahaminya akan saya berikan contoh soal seperti di bawah ini.

Contoh bill of material meja. Contoh multilevel tree dicantumkan pada gambar 4 contoh multilevel bill of material dicantumkan pada tabel 4. Modul ini sebagai penentu biaya tenaga kerja yang bisa ditelusuri melalui produk yang sudah jadi seperti biaya tukang dalam membangun rumah. Menentukan tipe atau jenis bill of material yang sesuai dengan produk yang akan di buat. Bahan ini harus terdapat pada produk dan dapat ditelusuri secara fisik seperti atap dalam pembangunan rumah.

Bill of material memiliki rumus perhitungan tersendiri dalam membuat suatu produk yang menyesuaikan dengan jumlah output yang akan diproduksi. Perancangan produk bill of materials meja portabel. Bom merupakan daftar yang memuat semua komponen yang dibutuhkan dalam pembuatan sebuah produk. Bill of material bom merupakan rangkaian struktur semua komponen yang digunakan untuk memproduksi barang jadi sesuai dengan master production scheduling.

Contoh perhitungan untuk harga per komponen papan bawah. Ii 3 praktikum sistem produksi ata 2014 2015. Tampilan 3d dari drilling jig dari beberapa sudut. Diirect labour tenaga kerja langsung atau touch labour tenaga kerja manual.

Phantom bill of material adalah bill of material untuk komponen biasanya sub sub perakitan yang hanya ada sementara waktu. Bill of materials bom merupakan daftar yang memuat semua komponen yang dibutuhkan dalam pembuatan sebuah produk. Bom terdiri dari beberapa bentuk dan dapat digunakan untuk berbagai keperluan dalam proses industri manufaktur atau lainnya. Tipe yang kedua yaitu bill untuk perencanaan dan phantom bills.

Contoh bill of materials untuk produk drilling jig. Bill of material untuk modul modul tersebut disebut juga modular bill. Bill of material atau sering disingkat bom merupakan gambaran atau definisi produk terakhir yang terdiri dari item bahan atau material yang dibutuhkan untuk merakit mencampur atau memproduksi produk akhir. Pahami dan kuasai sistem atau aplikasi yang di gunakan untuk pembuatan bill of material contoh aplikasi.

Modular bill of material dan interved bill of material termasuk kedalam kategori planning bill tersebut sedangkan yang kedua yaitu planning biil dengan. Bom dibuat sebagai bagian dari proses desain dan digunakan. Bill ini langsung bergerak ke perakitan lainnya. Bill of materials dari meja portabel dapat dilihat pada tabel berikut ini.

Suka maju gak mau mundur tbk adalah sebuah perusahaan yang bergerak di bidang produksi sirup. Modul pada contoh bill of material direct material bahan langsung. Pada multilevel bill of material penulisan setiap level ditandai dengan format penulisan part number sesuai dengan tabel 4. Dalam pembuatan bill of material atau daftar order barang perlu di ingat bahwa sebelum di lakukan nya.

Contoh Invoice Software Akuntansi Zahir Accounting Akuntansi Sederhana Desain

Contoh Invoice Software Akuntansi Zahir Accounting Akuntansi Sederhana Desain

Purchase Order Template Besttemplates123 Purchase Order Template Restaurant Order Order Form Template

Purchase Order Template Besttemplates123 Purchase Order Template Restaurant Order Order Form Template

Pin Di Rab Lap Futsal

Pin Di Rab Lap Futsal

Pin Di Serial

Pin Di Serial

Cash Payment Receipt Template Free Excel Templates Free Receipt Template Receipt Template Invoice Template Word

Cash Payment Receipt Template Free Excel Templates Free Receipt Template Receipt Template Invoice Template Word

Yook Download Contoh Download Kwitansi Sederhana File Excel Desain Web Kelas Tk Aplikasi

Yook Download Contoh Download Kwitansi Sederhana File Excel Desain Web Kelas Tk Aplikasi

Pin On Figma Ios Toolkit

Pin On Figma Ios Toolkit

Pin Di About Home

Pin Di About Home

Contoh Faktur Penjualan In 2020 Invoice Template Word Purchase Order Template Invoice Template

Contoh Faktur Penjualan In 2020 Invoice Template Word Purchase Order Template Invoice Template

Banquet Event Order Often Referred To As The Beo

Banquet Event Order Often Referred To As The Beo

Sample Of Quotation For Supply Best Of Quotation Letter Samplesmple Business Format Application New Quotation Estimate Template Quote Template Invoice Template

Sample Of Quotation For Supply Best Of Quotation Letter Samplesmple Business Format Application New Quotation Estimate Template Quote Template Invoice Template

Pin Di House Idea

Pin Di House Idea

Credit Note Template Format Free Excel Xls Templates Notes Template Excel Spreadsheets Templates Credit Note

Credit Note Template Format Free Excel Xls Templates Notes Template Excel Spreadsheets Templates Credit Note

Pin Di Latihan Ujian

Pin Di Latihan Ujian

Source : pinterest.com